本文属于家用电器技术领域,涉及一种二合一电脑数码年历散热风扇。
目前,国内在现有技术的散热风扇市场中种类繁多,主要是在设计款式上的变化和散热风扇性能上的改进,都存在没有与散热风扇本身功能上的改进。
本文的目的是提供一种能使电散热风扇与万年历可同时使用的二合一电脑数码年历散热风扇。

本文二合一电脑数码年历散热风扇内容简述:
本实用二合一电脑数码年历散热风扇,是由:主箱体、散热风扇金属框架、轴流风机、电路板、外部盒盖、可调风叶、显示屏、保险开关、温度探头构成,其特征在于:二合一电脑数码年历散热风扇是一种壁挂式结构;散热风扇金属框架安装在主箱体内,在散热风扇金属框架内装有金属冷热片,调节温度,两个轴流风机通过固定夹固定在金属框架上,电路板和显示屏固定在主箱体的一侧,电路板与轴流风机的电源线连接,外部盒盖罩在主箱体上,可调风叶固定在外部盒盖上,在主箱体的一侧设置保险开关,在主箱体的底部设置温度探头;在主箱体的后面的挂勾架上设置墙壁挂勾,用于将二合一电脑数码年历散热风扇挂在墙壁上。
本文二合一电脑数码年历散热风扇,具有设计合理、结构简单、造型美观、节能、环保、造价低、使用费用小的特点,二合一电脑数码年历散热风扇是-种壁挂式结构,电脑数码年历和风扇可同时使用,两个轴流风机可单机或双机运转使用。
具体实施方式
本文二合一电脑数码年历散热风扇是这样实现的,下面结合附图作具体说明。
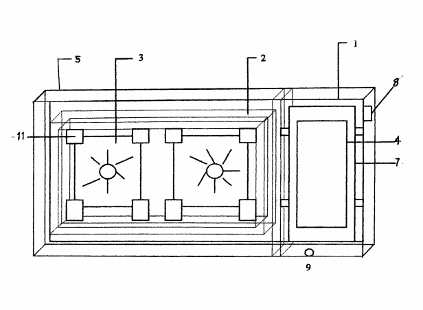
见图1、图2,二合一电脑数码年历散热风扇,是由:主箱体1、散热风扇金属框架2、轴流风机3、电路板4、外部盒盖5、可调风叶6、显示屏7、保险开关8、温度探头9、金属冷热片10、固定夹11、挂勾架12、墙壁挂勾13构成,二合- -电脑数码年历散热风扇是一种壁挂式结构;散热风扇金属框架2安装在主箱体1内,在散热风扇金属框架2内装有金属冷热片10,用于调节温度。两个轴流风机3通过固定夹11固定在散热风扇金属框架2上,电路板4和显示屏7固定在主箱体1的一侧,电路板4与轴流风机3的电源线连接,外部盒盖5罩在主箱体1上,可调风叶6固定在外部盒盖5上,可调风叶6用于调节风向。在主箱体1的一侧设置保险开关8,保护内部的电路板4和轴流风机3不易损伤。在主箱体1的底部设置温度探头9,用于测量室内温度。在主箱体1的后面的挂勾架12上设置墙壁挂勾13,用于将二合一电脑数码年历散热风扇挂在墙壁上。